
Водоразборные колонки КВ-4 предназначены для установки на водопроводных сетях для разбора воды населением на бытовые нужды. Колонки водоразборные КВ-4 изготавлявается 12 типоразмеров в зависимости от глубины заложения водопроводной сети с длиной подземной части от 750 мм до 3500 мм (с интервалом через 250 мм). Колонки водоразборные КВ-4 устанавливается на трассе водопроводной сети в колодце.
Технические характеристики
Рабочее давление: от 0,1 до 0,6 МПа
Условный проход подающей трубы: 15 мм
Условный проход подводящей трубы от приёмника к водопроводной сети: 20 мм
Ход клапана: от 16 до 18 мм
Высота колонки, мм
а) надземной части 1000±10
б) общая высота от 1750 до 4500 (с интервалом через 250 мм)
Масса колонки высотой 2250 мм, кг, не более 37
Изменение массы колонки на каждые 250 мм высоты, кг, не более 2,6.
Принцип работы
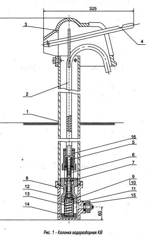
При нажатии на рычаг (4) рис. 1 колонки сверху вниз усилием 8 кг. и более, создаётся усилие, которое давит на эжектор колонки, оборудованный клапаном (9). Нижняя часть эжектора опускается, давая свободу напору воды. Колонка оборудована сеткой для фильтрации воды от мусора. Через эжектор вода поднимается по стояку к потребителю. Когда наполнены ёмкости потребителя, тот отпускает рычаг, который поднимается в первоначальное положение под воздействием пружины (13). Пружина прижимает не только рычаг, но и клапан с резиновой прокладкой, который закрывает воду, не давая ей поступать в эжектор. Чтобы исключить замерзание воды в трубе в зимнее время года, в средней части эжектора имеется окно, через которое вода уходит обратно в трубу, где и дожидается следующего нажатия.
Колонка КВ - 4 состоит из следующих частей:
| 1 | Корпус (труба) |
| 2 | Стояк |
| 3 | Колпак |
| 4 | Рычаг |
| 5 | Верхняя часть эжектора |
| 6 | Колпак в сборе |
| 7 | Эжектор в сборе |
| 8 | Гнездо эжектора |
| 9 | Клапан |
| 10 | Прокладка под клапан d 32 |
| 11 | Сетка |
| 12 | Приемник |
| 13 | Пружина |
| 14 | Донышко |
| 15 | Фланец приемника |
| 16 | Наконечник |
| 17 | Кольцо d 24 |
| 18 | Кольцо 080 |
| 19 | Приемник с эжектором в сборе |
| 20 | Прокладка d 40 |

